【投资视角】启示2025:中国水力发电行业投融资及兼并重组分析(附投融资汇总、兼并重组等)
行业主要上市公司:长江电力(600900)、华能水电(600025)、湖南发展(000722)、闽东电力(000993)、黔源电力(002039)、三峡水利(600116)、桂冠电力(600236)、桂东电力(600310)、西昌电力(600505)、郴电国际(600969)、湖北能源(000883)等
本文核心数据:投融资及兼并重组事件
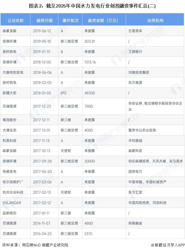
1、中国水力发电行业创投融资事件汇总
创投融资投资方主要为专业的投资机构。截至2025年,中国水力发电行业创投融资事件主要集中在A轮和新三板,具体总结如下表所示:



2、中国水力发电行业上市企业股权融资以定向增发为主
从中国代表性上市企业的股权融资情况来看,融资事件类型主要包括IPO、定向增发、配股、可交换债及可转债的发行。从股权融资事件数量和金额来看,长江电力均位居首位,从规模来看,长江电力股权募资规模已超过1000亿元。


从代表上市公司的股权融资事件类型来看,根据不同事件类型的融资总金额分布情况,定向增发事件的占比最大,接近75%;可交换债发行额的募资总额占比13%。

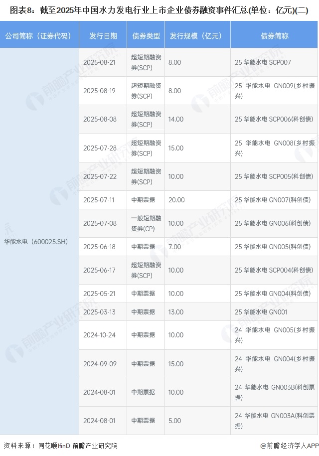
3、中国水力发电行业上市企业债券融资以中期票据和公司债为主
相较于股权融资事件,水力发电行业债券融资事件数量更多。根据过去五年统计的行业上市企业债券融资事件情况,债券类型主要包括短期融资券、公司债、中期票据、非公开定向债务融资工具(PPN)等。从企业的债券融资数量和金额来看,长江电力的融资规模遥遥领先。据统计,过去五年长江电力的债券融资金额超过380亿元。




从代表上市公司的债券融资事件类型来看,根据过去五年不同债券类型的总金额分布情况,中期票据和公司债的占比最大,分别为50%和26%;短期融资券占比约19%。

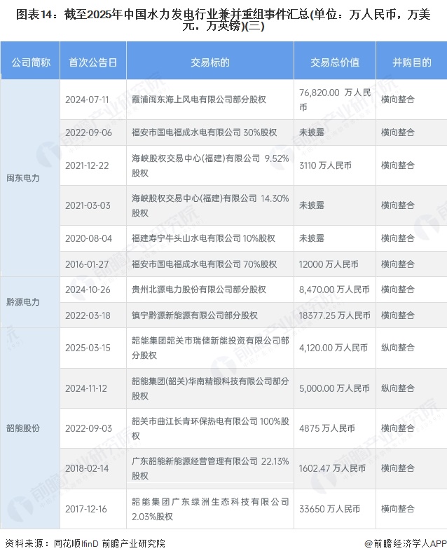
4、中国水力发电行业兼并重组的主要目的为横向整合
从产业链情况来看,水力发电行业上游主要包括工程咨询、原材料与设备供应商,中游主要是水力发电项目建设和运营,下游主要涉及售电主体和电力用户。中游企业兼并重组的主要目的为横向整合以扩大市场规模。同时,随着新能源技术的不断完善以及政策的扶持,中游企业从单一水电扩展到水风光储并举、多能互补、构建水风光储一体化发展格局已成为趋势,未来以多样化业务为目的的兼并重组事件将会增加。



5、中国水力发电行业投融资及兼并重组总结

更多本行业研究分析详见前瞻产业研究院《中国水力发电行业市场前瞻与投资战略规划分析报告》
同时前瞻产业研究院还提供产业新赛道研究、投资可行性研究、产业规划、园区规划、产业招商、产业图谱、产业大数据、智慧招商系统、行业地位证明、IPO咨询/募投可研、专精特新小巨人申报、十五五规划等解决方案。如需转载引用本篇文章内容,请注明资料来源(前瞻产业研究院)。
更多深度行业分析尽在【前瞻经济学人APP】,还可以与500+经济学家/资深行业研究员交流互动。更多企业数据、企业资讯、企业发展情况尽在【企查猫APP】,性价比最高功能最全的企业查询平台。
前瞻产业研究院 - 深度报告 REPORTS
本报告前瞻性、适时性地对水力发电行业的发展背景、供需情况、市场规模、竞争格局等行业现状进行分析,并结合多年来水力发电行业发展轨迹及实践经验,对水力发电行业未来...
如在招股说明书、公司年度报告中引用本篇文章数据,请联系前瞻产业研究院,联系电话:400-068-7188。
品牌、内容合作请点这里:寻求合作 ››

前瞻经济学人
专注于中国各行业市场分析、未来发展趋势等。扫一扫立即关注。


























